cancel
Showing results for 
Search instead for 
Did you mean: 

ISO808 Ground connection

sabari1
Associate III

sabari1_0-1688560038192.png

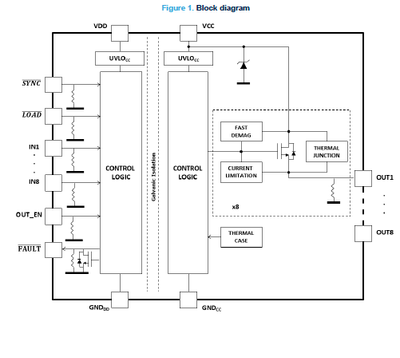
in ISO808 I have connected +5V at VDD and +28V at VCC. In my application isolation is not required so is it ok if I short GNDDD and GNDCC with filter?

This discussion is locked. Please start a new topic to ask your question.
1 ACCEPTED SOLUTION

Accepted Solutions

For example, you could use the VNI8200XP, which has OUT_EN but can only be used via SPI because OUT_EN is shared with IN3. Otherwise, you can stay with the ISO808.

If the problem is solved, please mark this thread as answered by selecting Accept as Solution, as also explained here. This will help other users find that answer faster.

Good luck!
/Peter

In order to give better visibility on the answered topics, please click on Accept as Solution on the reply which solved your issue or answered your question.

View solution in original post

3 REPLIES 3
Peter BENSCH
ST Employee

Well, you can certainly connect the two GND.
However, the question then arises as to why you would want to pay a significantly higher price for the then unused insulation than, for example, with the cheaper IPS8160HQ or IPS8160HQ-1?

Regards
/Peter

In order to give better visibility on the answered topics, please click on Accept as Solution on the reply which solved your issue or answered your question.
sabari1
Associate III

Thank you Peter for your suggestion, In our application we need OUT_EN pin and I have gone through the datasheet of IPS8160HQ Ic but there is no such kind of OUT_EN pin. Could you suggest me any High side driver IC with the function of 8 channel, over current protection, thermal shut down , fault detection and Out_EN?

For example, you could use the VNI8200XP, which has OUT_EN but can only be used via SPI because OUT_EN is shared with IN3. Otherwise, you can stay with the ISO808.

If the problem is solved, please mark this thread as answered by selecting Accept as Solution, as also explained here. This will help other users find that answer faster.

Good luck!
/Peter

In order to give better visibility on the answered topics, please click on Accept as Solution on the reply which solved your issue or answered your question.