cancel
Showing results for 
Search instead for 
Did you mean: 

Cannot access >=3,3V at GPIOA - STM32F411

timbo2023
Associate III

Dear Ladies and Gentlemen,

 

for you it is your daily business - for me as customer a contemporary challenge:

 

Something went wrong with my pin-configuration.

I measure ~1,7 V as GPIO-output of Port A instead of wished >=3.3 V.

My power supply is a USB.

Could you give a sample pin configuration for (3.3 V output) of Port A in discussion?

 

As additional comment:

Round about 5 V are present at the 5 V-Pin(s).

 

Thank you in advance.

TIMBO

 

This discussion is locked. Please start a new topic to ask your question.
46 REPLIES 46

Sooo...

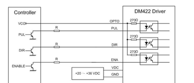
Its about DM422c - right ?

AScha3_0-1708020974078.png

You need anyway just 3 lines : pul, dir, ena. +opto for power.

Set pins as output, open drain . PA8 , 9, 10 . + on opto 5V vom USB port .

(not PA0...123 , they are NOT FT - 5v tolerant !!! ) RTFM !!!!

If you feel a post has answered your question, please click "Accept as Solution".

 

F U I & ((A)nswer) -

 

my emailaddress is ... xxx

 

Could you send me this answer in a more common way in german language again?

 

Thank's a lot ...

 

sou sou sou - spoken in my time ...

 

I would like to go on OPTO with an open common PIN as input voltage... but your solution seems to be more comfortable.

>>But I need at least round about 3.6 V ... USB Voltage tap per software possible?

No, there's no magical connectivity here. Go check the schematic, the 5V goes to a 3.3V regulator powering the STM32. The STM32 doesn't have 3.6V available as a High Level

Perhaps you've damaged PA0 ? Pressed the Key, shorting out the MCU?

A photo of the PA0 voltage off the board, and not connected to anything would be more assuring.

Do you have additional BLACK PILL boards you can sanity check against?

https://stm32-base.org/assets/pdf/boards/original-schematic-STM32F411CEU6_WeAct_Black_Pill_V2.0.pdf

Provide schematics of what you've wired, over photos.

GPIOA->OSPEEDR |= 0x00000000; // Doesn't clear bits, basically does nothing

GPIOA->OTYPER |= 0xE; // PA1..3 Open Drain, then external pull-ups to 5V via 10K

A read of the DATA SHEET indicates PA0 is not FT (5V Volt Tolerant), just a standard 3.3V GPIO

https://www.st.com/en/microcontrollers-microprocessors/stm32f411ce.html

Tips, Buy me a coffee, or three.. PayPal Venmo
Up vote any posts that you find helpful, it shows what's working..

How I can change the supply regulator?

"If you change the supply regulator to a 3,6v type." @AScha.3

 

timbo2023
Associate III

Ok - in common I think, that my control voltage is too low. The motor sounds in this way.

 

In look to the USB voltage, there is no possibility to get this voltage per software?

 

 

What actually does VB means?

Is it possible to give there a voltage input ~5V on the card?

 

>>In look to the USB voltage, there is no possibility to get this voltage per software?

How would that even work?

Have you looked at the schematics?

The D+ / D- operate at much lower voltages, and the 5V doesn't get to the STM32F4 MCU

What are you attaching? Link to a manual/datasheet for the stepper controller.

Draw a diagram of what you've connected to what. Is this too much to ask?

Tips, Buy me a coffee, or three.. PayPal Venmo
Up vote any posts that you find helpful, it shows what's working..