2025-10-30 11:28 PM
Hello,
I want to interface two SAI of STM32L4S7VIT6 with two SGTL5000, which are working as transmitter and receiver at any time as used in telephone. Also interface one Si32287 through PCM. In datasheet SAI1_D1,D2, D3 are given but in reference manual it is not given. Also can we connect for one SGTL5000 with SAI1_FS_A, SAI1_MCLK_A,SAI1_SCK_A,SAI1_SD_A and SAI1_SD_B of same SAI1. And for other SGTL5000, can we connect SAI1_FS_B, SAI1_MCLK_B,SAI1_SCK_B of same SAI1 and for data SDI1_D1 and SDI1_D2. What are the functions of the lines SAI1_D1 and SAI1_D2?
Solved! Go to Solution.
2025-10-31 7:33 AM
>Is it feasible to connect STM32L4S7VIT6 with two STGL5000 stero codec and one Si32287 ProSLIC- Single chip-Dual FXS solution
Now 6 channels ? No.
With 2 SAI you can connect 2 codecs , not 3.
You need a bigger cpu/soc , with 3 SAI ; or 2 SAI + 2 I2S .
And no answer to: 4ch IN and 4ch OUT - what is it for ? surround telephone ? :)
2025-10-31 4:03 AM
Hi,
>with two SGTL5000
So you want 4ch IN and 4ch OUT - what is it for ? surround telephone ? :)
+
>What are the functions of the lines SAI1_D1 and SAI1_D2?
The SAI can connect to 4 pdm mics also....so just set it in Cube and you see the D1...lines used.
+
>of same SAI1 and for data SDI1_D1 and SDI1_D2
No.
+
You can connect a SGTL5000 (stereo, IN and OUT) to SAIx , A for out, B for input data; (master+slave)
and the other SAI for the other SGTL5000 , also on its A + B , for in and out.
2025-10-31 5:10 AM
Thanks for your response.
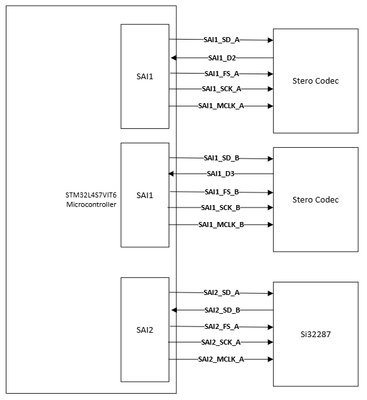
See the attached is the connection. Is it feasible to connect STM32L4S7VIT6 with two STGL5000 stero codec and one Si32287 ProSLIC- Single chip-Dual FXS solution. We don't want to share any pins. Is it correct? Please suggest for the same.
2025-10-31 7:33 AM
>Is it feasible to connect STM32L4S7VIT6 with two STGL5000 stero codec and one Si32287 ProSLIC- Single chip-Dual FXS solution
Now 6 channels ? No.
With 2 SAI you can connect 2 codecs , not 3.
You need a bigger cpu/soc , with 3 SAI ; or 2 SAI + 2 I2S .
And no answer to: 4ch IN and 4ch OUT - what is it for ? surround telephone ? :)
